Запасные части ЧТЗ Запасные части ЧТЗ
Усинск
Например:
Актобе
Алдан
или
Выбрать автоматически
Актобе
Алдан
Алматы
Алчевск
Архангельск
Астана
Астрахань
Атырау
Баку
Балашиха
Барнаул
Белгород
Бердянск
Бишкек
Владивосток
Владикавказ
Воркута
Воронеж
Горловка
Грозный
Донецк
Екатеринбург
Иваново
Ижевск
Иркутск
Казань
Калининград
Каменск-Уральский
Караганда
Каховка
Кемерово
Киров
Комсомольск-на-Амуре
Костанай
Краснодар
Красноярск
Красный луч
Ленск
Луганск
Магадан
Магнитогорск
Макеевка
Махачкала
Мелитополь
Минск
Мирный (Якутия)
Москва
Мурманск
Нерюнгри
Нижневартовск
Нижний Новгород
Нижний Тагил
Новая каховка
Новокузнецк
Новосибирск
Новый Уренгой
Норильск
Ноябрьск
Нур-Султан
Омск
Оренбург
Ош
Павлодар
Пермь
Петрозаводск
Петропавловск
Петропавловск-Камчатский
Псков
Ростов-на-Дону
Салехард
Самара
Санкт-Петербург
Саратов
Севастополь
Семей
Симферополь
Сочи
Ставрополь
Сургут
Сыктывкар
Тараз
Ташкент
Токмак
Томск
Тында
Тюмень
Ульяновск
Усинск
Усть-Каменогорск
Уфа
Хабаровск
Ханты-Мансийск
Херсон
Челябинск
Чита
Шымкент
Экибастуз
Энергодар
Южно-Сахалинск
Якутск
Ваш город
Усинск
Войти
Запасные части к тракторам на одном сайте
+7 (932) 303-00-10
+7 (932) 303-00-10
г. Усинск, ул. Магистральная, д. 13/1
Пн-Пт: 9:30-18:30 Cб-Вс: Выходной
Отправить заявку


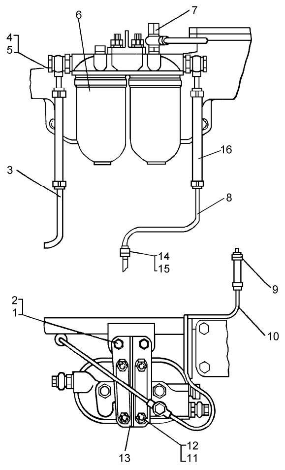
Установка топливного фильтра тонкой очистки на Т10М / Б10М


/
с НДС 20%
Описание
Установка топливного фильтра тонкой очистки на Т10М
# Номер запчасти Наименование детали Кол-во в сборке
1 - Шайба 12 ОТ 65Г 09 2
2 - Болт М12х25.58.019 2
3 51-41-148СП Топливопровод (от фильтра тонкой очистки) 1
4 700-41-2716 Болт поворотного угольника 4
5 51-06-8 Кольцо 8
6 51-70-153СП Фильтр топливный 1
7 51-70-136СП Клапан 1
8 51-41-147СП Топливопровод 1
9 700-41-2235-01СП Хомут 1
10 51-41-141СП Трубка 1
11 351-09 Гайка 4
12 353-37 Шайба стопорная 2
13 51-70-144СП Кронштейн 1
14 700-41-3598 Хомут 1
15 700-40-2654 Прокладка 1
16 700-40-2276 Рукав 2
Установка топливного фильтра тонкой очистки