Запасные части ЧТЗ Запасные части ЧТЗ
Усинск
Например:
Актобе
Алдан
или
Выбрать автоматически
Актобе
Алдан
Алматы
Алчевск
Архангельск
Астана
Астрахань
Атырау
Баку
Балашиха
Барнаул
Белгород
Бердянск
Бишкек
Владивосток
Владикавказ
Воркута
Воронеж
Горловка
Грозный
Донецк
Екатеринбург
Иваново
Ижевск
Иркутск
Казань
Калининград
Каменск-Уральский
Караганда
Каховка
Кемерово
Киров
Комсомольск-на-Амуре
Костанай
Краснодар
Красноярск
Красный луч
Ленск
Луганск
Магадан
Магнитогорск
Макеевка
Махачкала
Мелитополь
Минск
Мирный (Якутия)
Москва
Мурманск
Нерюнгри
Нижневартовск
Нижний Новгород
Нижний Тагил
Новая каховка
Новокузнецк
Новосибирск
Новый Уренгой
Норильск
Ноябрьск
Нур-Султан
Омск
Оренбург
Ош
Павлодар
Пермь
Петрозаводск
Петропавловск
Петропавловск-Камчатский
Псков
Ростов-на-Дону
Салехард
Самара
Санкт-Петербург
Саратов
Севастополь
Семей
Симферополь
Сочи
Ставрополь
Сургут
Сыктывкар
Тараз
Ташкент
Токмак
Томск
Тында
Тюмень
Ульяновск
Усинск
Усть-Каменогорск
Уфа
Хабаровск
Ханты-Мансийск
Херсон
Челябинск
Чита
Шымкент
Экибастуз
Энергодар
Южно-Сахалинск
Якутск
Ваш город
Усинск
Войти
Запасные части к тракторам на одном сайте
+7 (932) 303-00-10
+7 (932) 303-00-10
г. Усинск, ул. Магистральная, д. 13/1
Пн-Пт: 9:30-18:30 Cб-Вс: Выходной
Отправить заявку


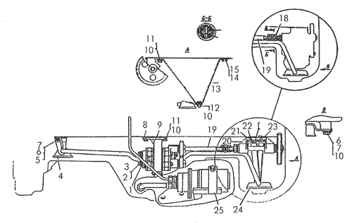
Установка масляных насосов на Т-170


/
с НДС 20%
Описание
Установка масляных насосов Т-170
Поз.НаименованиеАртикулКол-во в сборке
1Прокладка 407512
2БолтМ8Х20.58.0194
3Шайба8Т65Г098
4Маслоприемник 51-09-162СП1
5Шайба стопорная 31981
6БолтМ10Х25.58.0192
7Шайба313087
8Прокладка 700-40-71941
9Насос масляный51-09-127СП1
10Шайба стопорная 31371
11БолтМ10Х30.58.0194
12Гайка М10Х6.019М10Х6.0192
13Кронштейн51-09-173СП1
14Шайба стопорная315361
15БолтМ16Х30.58.0195
16Штифт700-32-21252
17Кольцо700-58-23682
18Муфта 51-09-501
19Валик 51-09-132СП1
20Валик 51-09-226СП1
21Пластина700-31-25271
22БолтМ16Х40.58.0192
23Прокладка51-09-2031
24Маслоприемник 51-09-149СП1
25Установка маслозакачивающего насоса51-09-188СП1
Установка масляных насосов